Универсальный кронштейн UPB в Краснодаре
-
Для любой конфигурации крепления кабелей на столбах.
-
Материал: алюминиевый сплав
! Ваша цена может стать ниже, зарегистрируйтесь или отправьте запрос
*Внимание! Точную стоимость товара уточняйте у менеджера.
Описание
Кронштейн UPB - это универсальное крепление, которое подходит для монтажа кабелей, поперечен или опор на любых столбах: железобетонных (круглых либо квадратных), деревянных или металлических. Кронштейн UPB имеет отверстие для крепления болтом, также кронштейн UPB можно закрепить при помощи монтажной обвязочной ленты на любой тип столба:
- В конечных точках линии
- В точках сопряжения участков линии
- При прохождении трассы под углом
- В точках ответвления
- Крепление расстяжек
- Крепление поперечин
- Подключение абонентов (drop-кабель)
- Для организации размотки кабеля на блоках (роликах)
Способы крепления кронштейна UPB
Крепление лентами
Кронштейн UPB устанавливается на всех типах столбов, с отверстиями или без, с помощью двух обвязочных лент SB204/SB207 шириной 20 мм. и двух замков B20 (или двух втулок A20). В среднем на кронштейн необходимы две ленты по одному метру длиной. Выбор толщины ленты зависит от требуемой прочности, что определяется, в свою очередь, от тягового усилия, прилагаемого на кронштейн.
Крепление болтами
Если на верхушке столба имеется отверстие (деревянном, а иногда бетонном), кронштейн UPB может крепиться с помощью болта диаметром 14 или 16 мм., проходящим насквозь. В таком случае длина болта определяется как диаметр верхушки столба + 42 мм. (толщина кронштейна).
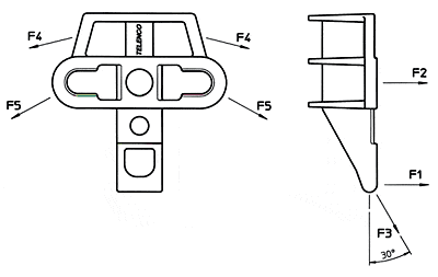
Характеристики кронштейна UPB
Основные нагрузки, действующие на кронштейн UPB
| Максимальные рабочие нагрузки | Крепление F1 | 1500 кгс. |
| Крепление F2 | 1500 кгс. | |
| Растяжки F3 | 2700 кгс. | |
| Сопряжения F4 | 600 кгс. | |
| Угловые F5 | 1500 кгс. | |
| Материал | Алюминиевый сплав | |
| Вес | 0,2 кг. |
Задать вопрос из карточки товара
Самовывоз - сегодня
Доставка Краснодар и КО: 12.01.2026
Доставка в Казахстан ТК: 12.01.2026
Передача в ТК: 12.01.2026
Изображения товара, включая цвет, могут отличаться от реального внешнего вида. Комплектация также может быть изменена производителем без предварительного уведомления. Данное описание не является публичной офертой.
